{"product":{"productId":"agid.24775","price":113.01,"name":"Broches de positionnement à billes en Inox pneumatiques"},"currency":"EUR"}
Matière
Corps de base en Inox.
Joint à base de NBR (caoutchouc nitrile butadiène).
Joint à base de NBR (caoutchouc nitrile butadiène).
Finition
Inox poli.
Afficher plus
Afficher moins
Description
Description du produit
La forme A est bridée par un ressort dans l'état initial. La broche de positionnement à billes est débridée par air comprimé.La forme B est débridée dans l'état initial. La broche de positionnement à billes est bridée par air comprimé.
Matière
Corps de base en Inox.
Joint à base de NBR (caoutchouc nitrile butadiène).
Joint à base de NBR (caoutchouc nitrile butadiène).
Finition
Inox poli.
Remarque
Caractérisation de la forme A par une courbe caractéristique.
Nota
Les forces de bridage et de serrage indiquées se réfèrent à une pression de service de 0,5 MPa.
En cas d'utilisation de plusieurs unités de positionnement, il convient de ne pas dépasser la tolérance d'écartement de ± 0,1 mm.
La répétabilité est de ± 0,2 mm.
En cas d'utilisation de plusieurs unités de positionnement, il convient de ne pas dépasser la tolérance d'écartement de ± 0,1 mm.
La répétabilité est de ± 0,2 mm.
Montage
Cotes de montage pour une épaisseur de plaquettes de 6 mm.
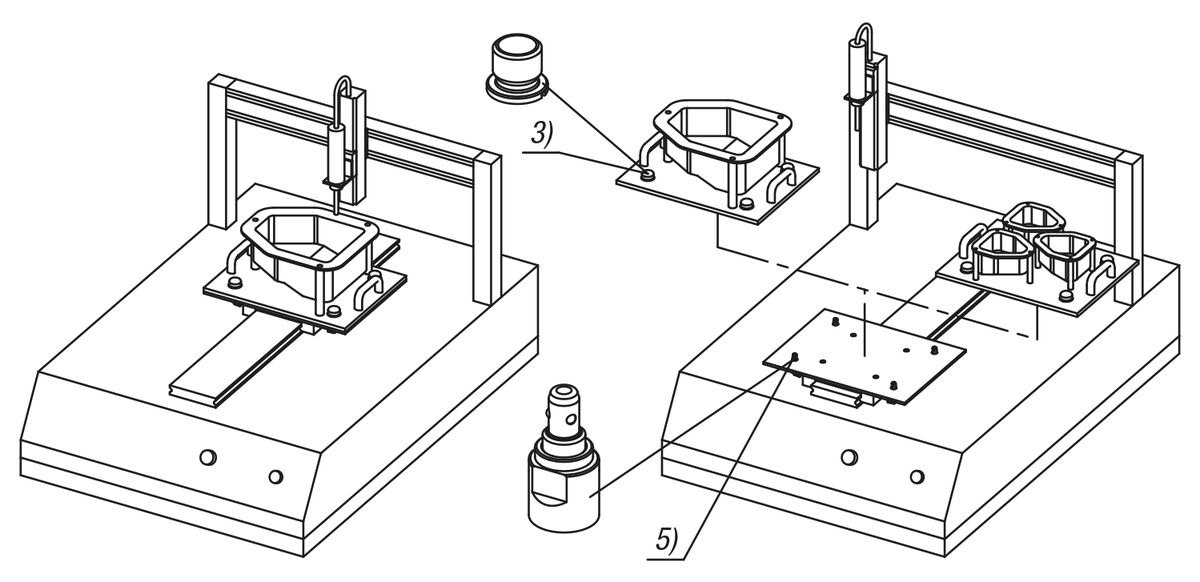
Indication de dessin
1) Courbe caractéristique de la forme A
2) Raccord pneumatique
3) Douille de logement de broche de positionnement à billes
4) Broche de positionnement à billes de forme A
5) Broche de positionnement à billes de forme B
2) Raccord pneumatique
3) Douille de logement de broche de positionnement à billes
4) Broche de positionnement à billes de forme A
5) Broche de positionnement à billes de forme B
Accessoire
03161-11 Douilles de logement en Inox
Remarque importante concernant le téléchargement des modèles CAO
Pour pouvoir télécharger nos modèles CAO, vous devez d’abord connecter. Si vous n’avez pas encore créé de compte, inscrivez-vous en cliquant sur « Mon compte » (à droite de l’écran) et suivez les instructions.