{"product":{"productId":"agid.32742","price":243.29,"name":"Unité d'extension"},"currency":"EUR"}
Matière
Acier de traitement.
Finition
Bruni.
Afficher plus
Afficher moins
Description
Description du produit
Des unités d'extension sont nécessaires lorsque les éléments d'entraînement des éléments de bridage automatisables sont inaccessibles en raison de l'espace disponible.
Matière
Acier de traitement.
Finition
Bruni.
Nota
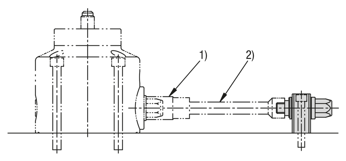
1) La douille et 2) l'arbre d'entraînement ne sont pas inclus.
Indication de dessin
1) Douille
2) Arbre d'entraînement
2) Arbre d'entraînement
Accessoire
04401 Vérin à tirer automatisable.
04401-10 Vérin à tirer automatisable avec vis de serrage.
02334-10 Vérin support automatisable.
04401-10 Vérin à tirer automatisable avec vis de serrage.
02334-10 Vérin support automatisable.
Remarque importante concernant le téléchargement des modèles CAO
Pour pouvoir télécharger nos modèles CAO, vous devez d’abord connecter. Si vous n’avez pas encore créé de compte, inscrivez-vous en cliquant sur « Mon compte » (à droite de l’écran) et suivez les instructions.